Product Summary
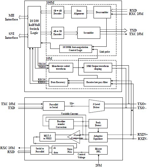
The RTL8201BL is a single-port Phyceiver with an MII (Media Independent Interface)/SNI(Serial Network Interface). It implements all 10/100M Ethernet Physical-layer functions including the Physical Coding Sublayer (PCS), Physical Medium Attachment (PMA), Twisted Pair Physical Medium Dependent Sublayer (TP-PMD), 10Base-Tx Encoder/Decoder and Twisted Pair Media Access Unit (TPMAU). A PECL interface is supported to connect with an external 100Base-FX fiber optical transceiver. The chip is fabricated with an advanced CMOS process to meet low voltage and low power requirements. The RTL8201BL can be used as a Network Interface Adapter, MAU, CNR, ACR, Ethernet Hub, Ethernet Switch. Additionally, it can be used in any embedded system with an Ethernet MAC that needs a twisted pair physical connection or fiber PECL interface to external 100Base-FX optical transceiver module.
Parametrics
RTL8201BL absolute maixmum ratings: (1)Supply Voltage: 3.0V to 3.6V; (2)Storage Temp.: -55℃ to 125℃.
Features
RTL8201BL features: (1)Supports MII/7-wire SNI (Serial Network Interface) interface; (2)Supports 10/100Mbps operation; (3)Supports half/full duplex operation; (4)Support of twisted pair or Fiber mode output; (5)IEEE 802.3/802.3u compliant; (6)Supports IEEE 802.3u clause 28 auto negotiation; (7)Supports power down mode; (8)Supports operation under Link Down Power Saving mode; (9)Supports Base Line Winder (BLW) compensation; (10)Supports repeater mode; (11)Speed/duplex/auto negotiation adjustable; (12)3.3V operation with 5V IO signal tolerance; (13)Low operation power consumption and only need single supply 3.3V; (14)Adaptive Equalization; (15)25MHz crystal/oscillator as clock source; (16)Multiple network status LED support; (17)Flow control ability support to co-work with MAC (by MDC/MDIO); (18)48 pin LQFP package.
Diagrams

| Image | Part No | Mfg | Description | ![]() |
Pricing (USD) |
Quantity | ||||
|---|---|---|---|---|---|---|---|---|---|---|
![]() |
![]() RTL8201BL |
![]() Other |
![]() |
![]() Data Sheet |
![]() Negotiable |
|
||||
| Image | Part No | Mfg | Description | ![]() |
Pricing (USD) |
Quantity | ||||
![]() |
![]() RTL8019 |
![]() Other |
![]() |
![]() Data Sheet |
![]() Negotiable |
|
||||
![]() |
![]() RTL8019AS |
![]() Other |
![]() |
![]() Data Sheet |
![]() Negotiable |
|
||||
![]() |
![]() RTL8019AS-LF |
![]() Other |
![]() |
![]() Data Sheet |
![]() Negotiable |
|
||||
![]() |
![]() RTL8029AS |
![]() Other |
![]() |
![]() Data Sheet |
![]() Negotiable |
|
||||
![]() |
![]() RTL8100B(L) |
![]() Other |
![]() |
![]() Data Sheet |
![]() Negotiable |
|
||||
![]() |
![]() RTL8100C |
![]() Other |
![]() |
![]() Data Sheet |
![]() Negotiable |
|
||||
(China (Mainland))









