Product Summary
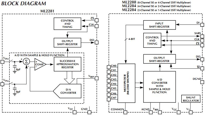
The ADC0838CCN is an 8-bit successive approximation A/D converter with serial I/O and configurable input multiplexers with up to 8 input channels. All errors of the sample-and-hold, incorporated on the ADC0838CCN are accounted for in the analog-to-digital converters accuracy specification.
Parametrics
ADC0838CCN absolute maximum ratings: (1)Current into V+: 15mA; (2)Supply Voltage, VCC: 6.5V; (3)Voltage Logic Inputs: –7 to VCC +7V; (4)Analog Inputs: –0.3V to VCC +0.3V; (5)Input Current per Pin: ±25mA; (6)Storage Temperature: –65℃ to 150℃; (7)Package Dissipation; (8)at TA = 25℃ (Board Mount): 800mW; (9)Lead Temperature (Soldering 10 sec.): 260℃; (10)Vapor Phase (60 sec.): 215℃; (11)Infrared (15 sec.): 220℃.
Features
ADC0838CCN features: (1)Conversion time: 6μs; (2)Total unadjusted error: ±1/2LSB or ±1LSB; (3)Sample-and-hold: 375ns acquisition; (4)2, 4 or 8-input multiplexer options; (5)0 to 5V analog input range with single 5V power supply; (6)Operates ratiometrically or with up to 5V voltage reference; (7)No zero or full-scale adjust required; (8)ML2281 capable of digitizing a 5V, 40kHz sine wave; (9)Low power: 12.5mW MAX; (10)Superior pin compatible replacement for ADC0831, ADC0832, ADC0834, and ADC0838; (11)Analog input protection: 25mA (min) per input; (12)Now in 8-Pin SOIC Package (ML2281, ML2282).
Diagrams

| Image | Part No | Mfg | Description | ![]() |
Pricing (USD) |
Quantity | ||||||||||||
|---|---|---|---|---|---|---|---|---|---|---|---|---|---|---|---|---|---|---|
![]() |
![]() ADC0838CCN |
![]() National Semiconductor (TI) |
![]() ADC (A/D Converters) |
![]() Data Sheet |
![]()
|
|
||||||||||||
![]() |
![]() ADC0838CCN/NOPB |
![]() National Semiconductor (TI) |
![]() ADC (A/D Converters) |
![]() Data Sheet |
![]()
|
|
||||||||||||
(China (Mainland))










